En el PARC la vida es más sabrosa
Una exploración rápida de las patentes registradas en la base de datos de Google arroja una treintena de inventos a nombre de David D. Thornburg (Doctor y Maestro en Ciencias egresado de la Universidad de Illinois, fundador del Thornburg Center en San Carlos, California).
Algunos de ellos –el transductor capacitivo o el mecanismo para depositar de manera selectiva y sin corriente un patrón de metal en la superficie de una película laminar– corresponden a la etapa en la que este inventor colaboró con Xerox, cuyo Centro de Investigación de Palo Alto (Xerox PARC) contribuyó a fundar y cuya magnífica reputación ayudó a mantener durante sus años dorados.
En esa época creó, entre otros artilugios, una tableta electrónica y la pluma para dibujar sobre la superficie de la pantalla, así como uno de sus inventos favoritos: un teclado para computadoras de los Muppets que desarrolló en colaboración con Jim Henson.
Thornburg evoca las imágenes en el Xerox PARC con entusiasmo, en particular las sesiones que solía tener con sus colegas en una sala que el arquitecto Gyo Obata destinó para el solaz y la conversación. Imagínese a estas lumbreras desparramadas sobre almohadones y pufs, practicando el arte de la inteligencia colectiva, indispensable para la creatividad:
Además de los asientos cómodos que alentaron la conversación, tuvimos una cafetería maravillosa y otra habitación con mesas de billar y tenis de mesa. La idea de un grupo de científicos encerrados en sus laboratorios y oficinas era extraña para aquellos que trabajábamos allí. Por supuesto, teníamos oficinas e incluso un auditorio donde escuchábamos presentaciones de vez en cuando, pero el cuidado en el diseño de espacios conversacionales tuvo un impacto duradero en muchos de nosotros. (19)
Sin duda, estas sesiones de charla han sido un factor fundamental para los resultados sobresalientes que el PARC ha alcanzado desde su fundación en 1970, que incluyen la creación del papel electrónico reutilizable, los sistemas de encriptación Ethernet, la fibra óptica, la interfaz gráfica de usuario (GUI), la impresión láser y la computadora personal, entre otras maravillas.
Estos cristales encantados fascinaron al equipo de Apple cuando Steve Jobs visitó el PARC en diciembre de 1979, según relata Michael A. Hiltzik en Dealers of Lightning: Xerox PARC and the Dawn of the Computer Age (Harper Business, 2000). Después de que una primera visita pasara sin pena ni gloria porque los científicos del PARC mantuvieron a buen resguardo sus inventos más interesantes, Jobs volvió por más (340):
La demostración comenzó. La presentación de Smalltalk fue un espectáculo para la vista. Se presentaron aplicaciones educativas que (Adele) Goldberg había desarrollado y herramientas para desarrollo de software hechas por (Lawrence) Tesler. (Diana) Merry demostró su editor de galerías, un programa muy hábil con capacidades para hacer animaciones, de manera tal que el usuario podía incorporar texto e imágenes en un solo documento. Casi cada programa tenía capacidades que nunca se habían visto en un prototipo, mucho menos en un sistema comercial.
Lo que era interesante –o para Goldberg, ominoso– era la intensidad con la que los ingenieros de Apple prestaron atención. Bill Atkinson, un brillante programador que tiempo después puso su sello distintivo en la Macintosh, mantuvo sus ojos en la pantalla como si estuvieran fijados allí por un campo magnético. Estaba parado tan cerca que Tesler podía sentir su respiración detrás de su cuello.
(…) La demostración también le dio (a Jobs) la munición necesaria para ganar la batalla por el mouse. Atkinson pensó que el dispositivo tenía que formar parte de cada unidad de Lisa, más que ser un aditamento opcional; sólo entonces Apple se aseguraría de que los desarrolladores de software lo desplegaran como una parte integral del sistema.
Del koala al Holodeck
La tableta creada por Thornburg es un digno antecesor del iPad Pro o el Surface Pro, sólo por mencionar algunos dispositivos muy populares en la actualidad. Aunque se trataba de un invento revolucionario, en su momento Xerox decidió no comercializarlo por encontrar que su potencial de monetización no superaba los 150 millones de dólares anuales (migajas para el monstruo que la compañía era en aquel entonces), así que cuando Thornburg dejó la empresa en 1981, la licencia para comercializar esta patente le fue cedida en buenos términos.
Después del PARC, David fue consultor de Atari y Apple durante algún tiempo, para después fundar Koala Technologies. Fue esta compañía la que comenzó a comercializar la tableta en versiones para las computadoras Comodore 64 y Plus4, IBM PC, Apple II y Macintosh 128K.
Thornburg recuerda que en una demostración del producto realizada a mediados de los ochenta, un incauto en la audiencia le preguntó: “¿para qué querría alguien dibujar sobre una pantalla?”. El chiste se cuenta solo, aunque en ese contexto no fue gracioso. El público no estaba listo para el dispositivo y pronto la compañía debió cerrar por falta de capital.
Además de inventar soluciones tecnológicas de uso mundial —en el PARC se observaba la regla de diseñar al menos para 100 personas, misma que superó por mucho—, David Thornburg se ha hecho el tiempo para cambiar la forma en la que se conciben los espacios educativos. Al frente de The Thornburg Center, que dirige junto con su esposa Norma, dicta conferencias y reflexiona sobre cómo puede mejorarse la experiencia de aprendizaje. Complementa esta actividad fungiendo como Director educativo de Polar3D, proyecto al cual referiré más adelante.
En su libro From the Campfire to the Holodeck: Creating Engaging and Powerful 21st Century Learning Environments (Wiley, 2013), Thornburg sintetiza toda una vida dedicada a la educación mediante un sencillo modelo para la creación de espacios para el aprendizaje. Dicha propuesta comprende cuatro ambientes que ideó mientras observaba a los asistentes a un congreso conversando animadamente afuera de las salas de conferencias, mientras los ponentes se desgañitaban en el interior de los recintos:
- Fogata. Lugares donde las personas pueden intercambiar historias. El concepto refiere también a una manera de presentar materiales en clase. Cualquier lugar es bueno para recrear esta dinámica, incluso virtualmente.
- Abrevadero. Sitios que promueven el aprendizaje social, que bien podría ser la zona de los pufs en el Xerox PARC o ese punto estratégico junto a la fotocopiadora, por donde todo el mundo pasa para servirse una taza de café.
- Cueva. Espacios para la introyección en solitario. Por ejemplo, ese rinconcito en la biblioteca de mi universidad donde los estudiantes suelen ir a cavilar al grado del ronquido en temporada de exámenes finales.
- Vida. Espacio para materializar todo lo aprendido, como los makerspaces hoy tan en boga.
Thornburg propone un quinto espacio donde confluyen los cuatro anteriores: el Holodeck educativo. De acuerdo con el universo de Star Trek, la holocubierta es un entorno que simula el mundo real con propósitos de entrenamiento; así, el Holodeck educativo es un lienzo en el cual pueden recrearse toda clase de experiencias para intercambiar historias, convivir, reflexionar en solitario y cristalizar ideas.
El modelo de Thornburg aplica no sólo para las escuelas. Las oficinas, las casas, las bibliotecas públicas, los parques y deportivos requieren también fogatas, abrevaderos, cuevas y espacios para materializar el conocimiento, acceder a estos escenarios no debiese ser un privilegio.
Como mencioné antes, David colabora actualmente como Director educativo de Polar3D, compañía tecnológica que ofrece software, productos y contenido para fomentar la cultura maker a través de la nube. La idea es hacer la impresión 3D accesible para todo el mundo, proporcionando los recursos necesarios para que cualquier persona cree y transforme sus modelos digitales en objetos físicos; es decir, cristalizando su imaginación. El proyecto forma parte de Polar Cloud, el ecosistema 3D educativo más grande del mundo. Todo parece indicar que Thornburg ha encontrado en la fabricación digital su Holodeck y lo ha puesto al servicio de más de 100.
Cristalización es el nombre del juego
En el libro Why Information Grows: The Evolution of Order, from Atoms to Economies (Basic Books, 2015), el director del grupo de aprendizaje colectivo del Instituto Tecnológico de Massachusetts, César Hidalgo, explica la importancia de cristalizar la imaginación (61):
Hacer cristales de imaginación requiere una enorme cantidad de conocimiento y knowhow. Pensar en productos como cristales de imaginación nos ayuda a comprender la importancia de la información que está incorporada en cada cosa. Los productos complejos no son sólo arreglos de átomos que realizan funciones; más bien, son arreglos ordenados de átomos que se originaron como imaginación. (61s)
Ese complejísimo proceso que fue del ingenio de Thornburg a la tableta Koala hizo la diferencia con respecto a todas las otras personas que se imaginaron un artefacto semejante pero que no lograron levantarse del sillón en el que estaban aplastados para bocetar, prototipar, probar, mejorar la idea y después ir a hacer fila al IMPI o su equivalente en otro país y esperar unos añitos hasta obtener la patente, para luego producir en serie, comercializar, escalar, mejorar el producto… y así sucesivamente. Cristalizar una idea requiere un esfuerzo que pocos están dispuestos a realizar. Que ese invento además resulte un éxito comercial ya es un atributo reservado para poquísimas súper estrellas.
Lo interesante de transformar los cristales de imaginación en soluciones significativas para más de 100 personas, según explica Hidalgo, es que, cuando se logra, la economía se moviliza. Ese fenómeno por el cual el ingenio se inserta en una cadena de valor generando prosperidad, es lo que John Howkins denominó Economía Creativa, también llamada Economía Naranja (The Creative Economy. How People Make Money from Ideas, Penguin, 2001, 5s):
La creatividad en sí misma no tiene valor económico hasta que toma forma, significa algo y se materializa en un producto que puede comercializarse. Esto, a su vez, necesita un mercado con vendedores y compradores activos, algunas reglas básicas, leyes y contratos, y algunas convenciones sobre lo que constituye un trato razonable.
Un producto creativo es un bien económico, un servicio o un experiencia resultante de la creatividad, en la que se cifra su principal valor económico. Puede tener características de belleza, conocimiento u otras virtudes simbólicas e intangibles, pero éstas son opcionales. Las características definitorias son dobles: es el resultado de la actividad creativa y su valor económico basado en ésta.
Una economía creativa es un sistema para la producción, intercambio y uso de productos creativos. La economía se ocupa del problema de cómo los individuos y las sociedades logran satisfacer sus necesidades, que son infinitas, con recursos finitos, y se trata principalmente de la asignación de recursos escasos. Podemos calcular el valor de mercado de una economía creativa al observar el número y el valor de sus transacciones.
Thornburg narra que cuando creó Koala Technologies esperó hasta el último momento para dejar su puesto a pesar de la crisis financiera por la que pasaba la empresa considerando que muchas familias dependían de la organización. La creatividad, la cristalización y el mantenimiento de cada gema encantada depende de un esfuerzo coordinado y colectivo que, cuando funciona bien, genera desarrollo local, nacional, regional y así sucesivamente.
El registro de patentes, obras musicales, literarias, diseños y otras creaciones susceptibles de propiedad intelectual e industrial son un índice de la fuerza que la cristalización tiene en cada país, afirmación que seguro resultará tremendamente impopular en tiempos de Creative Commons. No es el único camino, pero es uno. De ahí que el caso de David Thornburg y la patente que Xerox le heredó (más por falta de visión que por generosidad) resulte de gran interés: el 85% de los inventos que creó para la compañía siguen siendo propiedad de Xerox y es muy factible que sigan generando ganancias superiores a los 150 millones de dólares al año, pero el 15% restante podría ser una vuelta de tuerca.
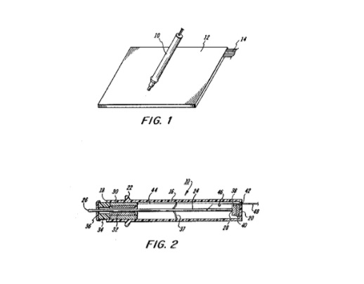
Ilustración 1. Diagrama pluma para pantalla.

Fuente: Patentes Google.
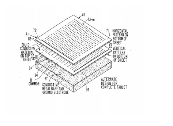
Ilustración 2. Diagrama tableta.

Fuente: Patentes Google.
Karla Paniagua es coordinadora de investigación y directora de la especialidad en Diseño del mañana en Centro de diseño, cine y televisión.
La autora agradece a Fernando Sandoval y Alejandro Piscitelli por su colaboración en esta investigación.